Η Apple συνεχίζει να εξελίσσει τα AirPods, αναζητώντας νέους τρόπους να τα κάνει πιο έξυπνα, πιο ελαφριά και πιο άμεσα στη χρήση.
Σύμφωνα με νέα διαρροή, η εταιρεία από το Cupertino εξετάζει ένα ριζικά διαφορετικό σύστημα ανίχνευσης χειρονομιών, το οποίο δεν βασίζεται σε επιφάνειες αφής αλλά στην ίδια την κεραία των ακουστικών.
Μακροχρόνιο ενδιαφέρον
Η Apple ασχολείται με τον έλεγχο μέσω χειρονομιών στα AirPods εδώ και πολλά χρόνια. Η πρώτη γνωστή πατέντα σχετική με το θέμα χρονολογείται από το 2011. Από τότε έχουν εμφανιστεί διάφορες ιδέες, ακόμη και πιο φιλόδοξες προσεγγίσεις, όπως συστήματα που βασίζονται σε κάμερες, οι οποίες όμως δεν έχουν υλοποιηθεί μέχρι σήμερα.
Η νέα πατέντα, με τίτλο Gesture Detection Based on Antenna Impedance Measurements, δείχνει ότι η εταιρεία συνεχίζει να πειραματίζεται με εναλλακτικές τεχνολογίες, αυτή τη φορά με επίκεντρο το ίδιο το ραδιοφωνικό υποσύστημα των AirPods.

Τα μειονεκτήματα της σημερινής λύσης
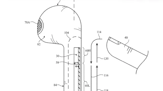
Στα σημερινά AirPods, οι χειρονομίες ανιχνεύονται μέσω επιφανειών αφής. Αν και η λύση αυτή είναι λειτουργική, η Apple αναγνωρίζει ότι έχει περιορισμούς.
Σύμφωνα με την πατέντα, το υπάρχον σύστημα αυξάνει τον όγκο και το βάρος της συσκευής, ενώ παράλληλα εισάγει μια μικρή αλλά αισθητή καθυστέρηση ανάμεσα στο άγγιγμα και στην εκτέλεση της εντολής, όπως για παράδειγμα στην αλλαγή τραγουδιού.
Η μείωση αυτής της καθυστέρησης φαίνεται να αποτελεί βασική προτεραιότητα για την εταιρεία, ειδικά καθώς τα AirPods εξελίσσονται σε όλο και πιο σύνθετες φορητές συσκευές.
Χειρονομίες μέσω κεραίας RF
Η νέα προσέγγιση που περιγράφεται στην πατέντα αξιοποιεί τις ραδιοκεραίες των AirPods. Οι κεραίες αυτές χρησιμοποιούνται ήδη για τη λήψη και μετάδοση ήχου και δεδομένων, αλλά η Apple προτείνει ότι μπορούν να κάνουν πολύ περισσότερα.
Συγκεκριμένα, αλλαγές στην αντίσταση της κεραίας θα μπορούσαν να χρησιμοποιηθούν για την ανίχνευση κινήσεων και χειρονομιών του χρήστη, χωρίς την ανάγκη ξεχωριστού αισθητήρα αφής.
Αν αυτή η τεχνολογία περάσει τελικά στην παραγωγή, θα μπορούσε να οδηγήσει σε πιο απλά, ελαφριά και ταχύτερα AirPods, ανοίγοντας τον δρόμο για νέους τρόπους αλληλεπίδρασης χωρίς φυσική επαφή.
Ακολουθήστε το Techmaniacs.gr στο Google News για να διαβάζετε πρώτοι όλα τα τεχνολογικά νέα. Ένας ακόμα τρόπος να μαθαίνετε τα πάντα πρώτοι είναι να προσθέσετε το Techmaniacs.gr στον RSS feeder σας χρησιμοποιώντας τον σύνδεσμο: https://techmaniacs.gr/feed/.
































![Samsung Galaxy S26 Ultra Review: Είναι τελικά Ultra; [Βίντεο] Galaxy S26 ultra review](https://techmaniacs.gr/wp-content/uploads/2026/03/Galaxy-S26-ultra-review-218x150.webp)













